|
Nyomás/MPa |
Hőmérséklet / °C |
Sebesség /m/s |
Közepes |
|
≤40 |
-35~+100 (NBR O-gyűrűvel) |
≤2 |
Hidraulika olaj, emulzió, víz, gáz stb. |
|
-20~+200 (FKM O-gyűrűvel) |
1. Elérhető O-gyűrű anyagok: R01 nitril-butadién gumi (NBR), R02 fluorkaucsuk (FKM) stb.
2. Tömítőgyűrű anyagok: szabványos anyagok PTFE3 és PTFE4; egyéb opcionális anyagok közé tartozik a PTFE1, PTFE2 és PTFE5.
Rendelési példa
Rendelési modell RC2052—80x91×4,2—PTFE3—R01 Modell-dxDxL- Anyagkód
Rendelési modell RCX17—80x91×4,2—HPU modell-dxDxL- Anyagkód
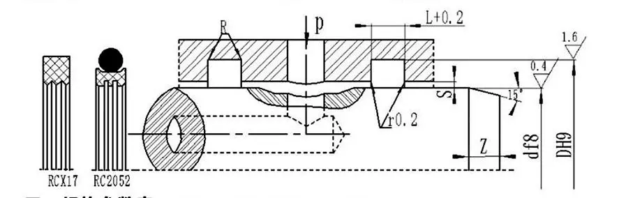
Specifikációk és paraméterek táblázata (a paramétertartományon belül bármely specifikáció elérhető)
|
Tengely átmérő tartomány d f8 |
Árok átmérője DH9 |
Árok szélessége L+⁰.2 |
Radiális hézag Smax |
Lekerekített sarkok Rmax |
Letörés Zmin |
|
|
0 ~ 10 MPa |
10-20Mpa |
|||||
|
6~18 |
d+49 |
2.2 |
0.15 |
0.1 |
0.4 |
2 |
|
19~37 |
d+7,5 |
3.2 |
0.2 |
0.15 |
0.6 |
3 |
|
38-199 |
d+11,0 |
4.2 |
0.25 |
0.2 |
1.0 |
4 |
|
200-255 |
d+15,5 |
6.3 |
0.3 |
0.25 |
1.3 |
5 |
|
256~649 |
d+21,0 |
8.1 |
0.3 |
0.25 |
1.8 |
7 |
|
650-1500 |
d+28,0 |
9.5 |
0.45 |
0.3 |
2.0 |
8 |
Megjegyzés: ≤ 30 mm-es tengelyátmérőnél nyitott hornyok használata javasolt.
|
d |
D |
L |
d |
D |
L |
d |
D |
L |
d |
D |
L |
|
8 |
12.9 |
2.2 |
48 |
59.0 |
4.2 |
150 |
161.0 |
4.2 |
350 |
371.0 |
8.1 |
|
10 |
14.9 |
2.2 |
50 |
61.0 |
4.2 |
160 |
171.0 |
4.2 |
360 |
381.0 |
8.1 |
|
12 |
16.9 |
2.2 |
55 |
66.0 |
4.2 |
170 |
181.0 |
4.2 |
370 |
391.0 |
8.1 |
|
14 |
18.9 |
2.2 |
60 |
71.0 |
4.2 |
180 |
191.0 |
4.2 |
380 |
401.0 |
8.1 |
|
15 |
19.9 |
2.2 |
63 |
74.0 |
4.2 |
190 |
201.0 |
4.2 |
390 |
411.0 |
8.1 |
|
16 |
20.9 |
2.2 |
65 |
76.0 |
4.2 |
200 |
215.5 |
6.3 |
400 |
421.0 |
8.1 |
|
18 |
22.9 |
2.2 |
70 |
81.0 |
4.2 |
210 |
225.5 |
6.3 |
420 |
441.0 |
8.1 |
|
20 |
27.5 |
3.2 |
75 |
86.0 |
4.2 |
220 |
235.5 |
6.3 |
450 |
471.0 |
8.1 |
|
22 |
29.5 |
3.2 |
80 |
91.0 |
4.2 |
230 |
245.5 |
6.3 |
480 |
501.0 |
8.1 |
|
24 |
31.5 |
3.2 |
85 |
96.0 |
4.2 |
240 |
255.5 |
6.3 |
500 |
521.0 |
8.1 |
|
25 |
32.5 |
3.2 |
90 |
101.0 |
4.2 |
250 |
265.5 |
6.3 |
520 |
541.0 |
8.1 |
|
28 |
35.5 |
3.2 |
95 |
106.0 |
4.2 |
260 |
281.0 |
8.1 |
550 |
571.0 |
8.1 |
|
30 |
37.5 |
3.2 |
100 |
111.0 |
4.2 |
270 |
291.0 |
8.1 |
600 |
621.0 |
8.1 |
|
32 |
39.5 |
3.2 |
105 |
116.0 |
4.2 |
280 |
301.0 |
8.1 |
630 |
651.0 |
8.1 |
|
35 |
42.5 |
3.2 |
110 |
121.0 |
4.2 |
290 |
311.0 |
8.1 |
650 |
678.0 |
8.1 |
|
36 |
43.5 |
3.2 |
115 |
126.0 |
4.2 |
300 |
321.0 |
8.1 |
670 |
698.0 |
9.5 |
|
38 |
49.0 |
4.2 |
120 |
131.0 |
4.2 |
310 |
331.0 |
8.1 |
700 |
728.0 |
9.5 |
|
40 |
51.0 |
4.2 |
125 |
136.0 |
4.2 |
320 |
341.0 |
8.1 |
750 |
778.0 |
9.5 |
|
42 |
53.0 |
4.2 |
130 |
141.0 |
4.2 |
330 |
351.0 |
8.1 |
800 |
828.0 |
9.5 |
|
45 |
56.0 |
4.2 |
140 |
151.0 |
4.2 |
340 |
361.0 |
8.1 |
1000 |
1028.0 |
9.5 |
Megjegyzés: A szükséges specifikációk itt nincsenek felsorolva; kérjük lépjen kapcsolatba cégünkkel. Maximum 2800mm átmérőjű termékeket kínálunk.





Mindenre kiterjedő szerelési és használati útmutató
Rui Chen tudja, hogy a helyes telepítés az első előfeltétele a tömítések teljes teljesítményének biztosításának, továbbá átfogó útmutatást adunk az egyes termékek használatához, különösen az összetett vagy nem szabványos egyedi alkatrészekhez, részletes grafikus telepítési útmutató lesz.
Ezeket az útmutatókat nagyfelbontású, lépésről lépésre diagramok és szöveges utasítások kísérik, amelyek egyértelműen bemutatják a telepítés előtti ellenőrzési pontokat, a helyes beszerelési lépéseket, a szükséges szerszámokat és a helytelen műveleteket, amelyeket el kell kerülni, mintha mérnökeink a helyszínen lennének. Ezenkívül összetett összeállításokhoz vagy rendszerekhez professzionális videós oktatóanyagokat készítünk, amelyek lehetővé teszik a kezelők számára, hogy intuitív módon és gyorsan elsajátítsák a telepítési technikákat és óvintézkedéseket dinamikus bemutatókon keresztül, nagymértékben csökkentve a nem megfelelő telepítés miatti korai meghibásodás kockázatát.
Cím
No.1 Ruichen Road, Dongliuting Industrial Park, Chengyang District, Qingdao City, Shandong tartomány, Kína
Tel