Qingdao Ruichen Sealing Technology Co., Ltd.
Qingdao Ruichen Sealing Technology Co., Ltd.
Termékek
X

Ablaktörlő gyűrű

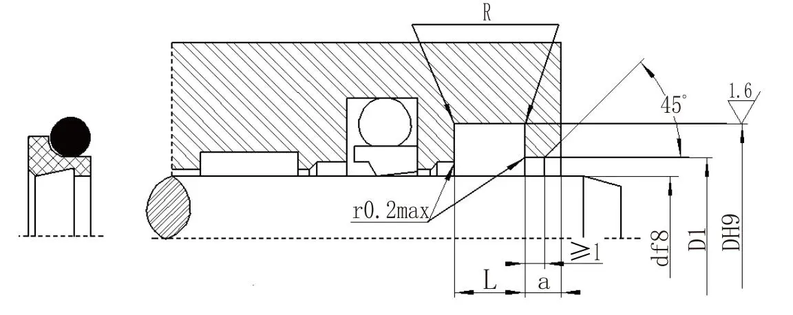
A Ruichen Seal (egy jól ismert dugattyúrúd-tömítés-gyártó és -szállító Kínában) által piacra dobott kettős ajakos kombinált portömítés egy töltött PTFE tömítőgyűrűből és egy O-gyűrűből áll. Kétirányú porvédelemmel és automatikus kopáskompenzációs funkciókkal, alacsony súrlódással, hosszú élettartammal és erős alkalmazkodóképességgel rendelkezik, és széles körben használják különféle ipari mozgási forgatókönyvekben, mint például a kétirányú, lengő és spirálos mozgások esetében.

Teljesítmény és alkalmazások

A kettős ajakos kombinált ablaktörlő tömítés egy kétirányú ablaktörlő tömítés, amely egy PTFE-vel töltött dupla ajakos törlőgyűrűből és egy O-gyűrűből áll. Az O-gyűrű előfeszítést biztosít, kompenzálva a PTFE gyűrű kopását. Alkalmas oda-vissza, oszcilláló vagy spirális mozgásokhoz.


Üzemeltetési feltételek

Nyomás Mpa

Hőmérséklet °C

Sebesség m/s

Közepes

-

-35~+100 (megfelelő NBR O-gyűrű)

6

Hidraulika olaj, emulzió, víz stb.

-20~+200 (megfelelő FKM O-gyűrű)


Rendelési példa

Rendelje meg az RCF02-80-PTFE3-R01 típust

RCF02 - Model 80 - Tengelyátmérő PTFE3 - Általános célú módosított PTFE RO1 - Megfelelő gumianyag kód

Nitril (NBR) - R01, Fluorocarbon (FKM) - RO2

Specifikációs paraméter táblázat (a paramétertartományon belül bármilyen méretű termék biztosítható)

Tengely átmérő tartomány d f8

A horony átmérője D H9

Horony szélessége L+0.2

Nyitott lyuk átmérője

D1H11

Nyitott lyuk szélessége a≥

Lekerekített sarkok R≤

O-gyűrű huzalátmérő

d0

4~11

d+4,8

3.7

d+1,5

2

0.4

1.80

12~64

d+6,8

5.0

d+1,5

2

0.7

2.65

65-250

d+8,8

6.0

d+1,5

3

1.0

3.55

251-420

d+12,2

8.4

d+2,0

4

1.5

5.30

421-650

d+16,0

11.0

d+2,0

4

1.5

7.00

651-1500

d+20,0

14.0

d+2,5

5

2.0

8.60


Hot Tags: Ablaktörlő gyűrű
Kérdés küldése
Elérhetőségei
Szerezzen versenyképes árakat, technikai támogatást és gyors válaszokat. Küldje el specifikációit Ruichennek a testreszabott tömítő megoldásokhoz. Ingyenes minták állnak rendelkezésre.
X
Cookie-kat használunk, hogy jobb böngészési élményt kínáljunk, elemezzük a webhely forgalmát és személyre szabjuk a tartalmat. Az oldal használatával Ön elfogadja a cookie-k használatát. Adatvédelmi szabályzat
Elutasít Elfogadás