Qingdao Ruichen Sealing Technology Co., Ltd.
Qingdao Ruichen Sealing Technology Co., Ltd.
Termékek
X

TC olajtömítések

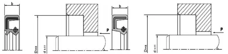
A forgótengely ajakos tömítések, közismert nevén olajtömítések, a csapágyházba vannak beépítve, és a forgó tengelyhez képest mozognak. Egy fémváz támaszt, és egy rugó sugárirányú előfeszítést fejt ki a tömítőajakra, hogy megakadályozza a kenőanyag szivárgását és a külső szennyeződések behatolását.

Beépítési felépítés és követelmények

1. Tengely anyaga: Általánosan használt szénacél és rozsdamentes acél. Nagy sebességeknél a felületet krómozással hordják fel, HRC40-45.

2. A forgó tengely és a hornyok kialakítása: A tengely felületének sima és sorjamentesnek kell lennie. A spirális megmunkálási nyomok pumpáló hatást válthatnak ki, ami szivárgáshoz vezethet. Javasoljuk, hogy az olajtömítés rögzítési területét Ra0,1-0,5 µm felületi érdességre csiszolják, ami a sebesség növekedésével simábbá válik. A beszerelés és szétszerelés megkönnyítése érdekében a tengelyt és a hornyokat letörésekkel vagy lekerekített élekkel kell kialakítani Lásd 1. és 2. ábra.

Tömítési magasság

b

b1(0,85xb)

mm

b2(b+0,3)

mm

r

max.

7

5.95

7.3

0.5

8

6.80

8.3

0.5

10

8.50

10.3

0.5

12

10.30

12.3

0.7

15

12.75

15.3

0.7

20

17.00

20.3

0.7

1. ábra Horonyletörés kialakítása


d

d3

R

<10

d-1.5

2

10-20

d-2,0

2

20-30

d-2.5

3

30-40

d-3,0

3

40-50

d-3.5

4

50-70

d-4,0

4

70-95

d-4.5

5

95-130

d-5.5

6

130-240

d-7,0

8

240-500

d-11,0

12

500-800

d-14,0

14

800-1250

d-18,0

16

2. ábra A forgó tengely letörési kialakítása


A forgótengely ajakos tömítések teljesítményét befolyásoló tényezők 

Több tucat tényező befolyásolja a tömítő hatást. Magán az olajtömítésen, például anyagán és szerkezetén kívül más tényezők, mint a közeg, a hőmérséklet, a nyomás, a kenés, a sebesség és a felületi érdesség is közvetlenül befolyásolják a tömítő hatást, és ezek a tényezők gyakran kölcsönhatásba lépnek egymással. Az alábbi táblázatok csak felhasználói referenciaként szolgálnak.

3. ábra A hőmérséklet hatása az olajtömítésre


Beszerelés: Az olajtömítések megfelelő működésének előfeltétele a gondos beszerelés.

Beépítési rajz (üreges beépítés)

Helyes telepítési mód

Alkalmazható munkakörülmények

Helytelen telepítési módszer

Ez a módszer csak akkor alkalmazható, ha az olajtömítés homlokfelülete és az üreges homlokfelület egy síkban van. Ha a présberendezés gyorsan működik, az olajtömítést megfelelően kell elhelyezni; ellenkező esetben eltolódás léphet fel.

 

Ez a kialakítás olyan helyzetekre alkalmas, amikor az olajtömítés homlokfelülete alacsonyabb, mint az üreges homlokfelület. Még gyors préselés esetén is jól elhelyezhető az olajtömítés. Az ilyen típusú szerelvényeknél azonban hiányzik a sugárirányú pozicionálás, ezért a présberendezés laposlemezének és nyomótengelyének axiális merőlegességének bizonyos pontosságot kell elérnie.

Ez a módszer olyan helyzetekben alkalmas, amikor az olajtömítés homlokfelülete alacsonyabb, mint az üreges homlokfelület. A berendezés gyors benyomásakor döntő fontosságú, hogy az olajtömítés megfelelően legyen elhelyezve; ellenkező esetben eltolódás léphet fel.


 

 


Ez a módszer csak karbantartási vagy egyszerű telepítési körülmények között alkalmazható, ahol nyomástartó berendezés nem áll rendelkezésre. Mivel a beépítés során nem érhető el teljesen egyenletes préselés, elkerülhetetlenek a különféle szerelési problémák. Elsődlegesen arra szolgál, hogy megakadályozza a beszerelés során bekövetkező sugárirányú eltéréseket, amelyek deformálhatják az olajtömítést, vagy megakadályozza az olajtömítés illeszkedő részének (külső kör) gumijának sérülését a beszerelés közbeni szünetek miatt. Ezért ez a telepítési módszer általában nem ajánlott.

 

TC/SC/TB/SB olajtömítések

Mindkettő fémvázból, rugóból és gumitestből áll. A fém keret támaszt nyújt, a rugó pedig radiális erőt fejt ki a tömítőajakra. Mind a TC, mind a TB modellek porálló segédajakkal rendelkeznek, amely olyan alkalmazásokhoz alkalmas, ahol az egyik oldalon a tömítőanyag, a másik oldalon pedig a por található. A TB/SB modellek fém külső körrel rendelkeznek, ami biztonságosabbá és pontosabbá teszi az olajtömítést az üregben. A külső kör tömítőképessége azonban alacsony viszkozitású és gáznemű közegek esetén korlátozott; ezért a szerelés és használat során ajánlatos a külső kört tömítőanyaggal felvinni.

Keresztmetszeti forma

Modell

Alkalmazás

Nyomás

Hőmérséklet

Sebesség

Közepes

Anyag

TC

Tömítés, porálló

0,03 MPa

-30~+160

20m/s

Kenőolaj és zsír

NBR/FKM + szénacél

SC

Tömítés

tuberkulózis

Tömítés, porálló

-30~+100

25m/s

Víz, kenőolaj, zsír

NBR + szénacél

SB

Tömítés

Rendelési modell TC-d*D*b

Specifikáció

Specifikáció

Specifikáció

Specifikáció

Specifikáció

Specifikáció

Specifikáció

TC-6*17*3,5

TC-9*25*7

TC-10*30*7

TC-12*25*10

TC-13*25*7

TC-14*32*8

TC-15*30*7

TC-7*18*7

TC-10*18*7

TC-11*22*7

TC-12*26*7

TC-13*26*7

TC-14*32*10

TC-15*30*8

TC-8*18*7

TC-10*19*7

TC-I1*25*7

TC-12*28*7

TC-13*28*7

TC-14*35*7

TC-15*30*10

TC-8*20*7

TC-10*20*5

TC-11*30*10

TC-12*28*8

TC-13*30*8

TC-14*35*8

TC-15*32*7

TC-8*22*7

TC-10*20*7

TC-12*19*3

TC-12*30*7

TC-14*24*7

TC-14*40*7

TC-15*32*10

TC-8*22*8

TC-10*22*5

TC-12*20*7

TC-12*30*10

TC-14*25*7

TC-15*22*8

TC-15*35*7

TC-8*25*7

TC-10*22*7

TC-12*21*7

TC-12*32*7

TC-14*26*7

TC-15*24*7

TC-15*35*8

TC-8*25*8

TC-10*22*8

TC-12*22*5

TC-12*32*10

TC-14*27*7

TC-15*25*5

TC-15*35*10

TC-8*30*7

TC-10*22*10

TC-12*22,5*5,5

TC-12*35*7

TC-14*28*7

TC-15*25*7

TC-15*38*7

TC-9*16*5

TC-10*24*7

TC-12*22*7

TC-12*35*10

TC-14*28*8

TC-15*25*8

TC-15*38*8

TC-9*18*7

TC-10*25*5

TC-12*22*8

TC-12,7*22,22*5

TC-14*28*10

TC-15*26*7

TC-15*38*10

TC-9*19*7

TC-10*25*7

TC-12*24*6

TC-12,7*25,4*7

TC-14*29*7

TC-15*27*7

TC-15*40*8

TC-9*20*7

TC-10*25*10

TC-12*24*7

TC-12.7*26*8

TC-14*30*7

TC-15*27*8

TC-15*40*10

TC-9*22*7

TC-10*26*7

TC-12*25*7

TC-12,7*30*8

TC-14*30*10

TC-15*28*7

TC-15*42*7

TC-9*24*7

TC-10*28*7

TC-12*25*8

TC-13*23*7

TC-14*32*7

TC-15*28*10

TC-15*42*8

 




Hot Tags: TC olajtömítések
Kérdés küldése
Elérhetőségei
Szerezzen versenyképes árakat, technikai támogatást és gyors válaszokat. Küldje el specifikációit Ruichennek a testreszabott tömítő megoldásokhoz. Ingyenes minták állnak rendelkezésre.
X
Cookie-kat használunk, hogy jobb böngészési élményt kínáljunk, elemezzük a webhely forgalmát és személyre szabjuk a tartalmat. Az oldal használatával Ön elfogadja a cookie-k használatát. Adatvédelmi szabályzat
Elutasít Elfogadás